Loading spinner

VN750

生産終了
Design Win

High-side driver

Download datasheet

製品概要

概要

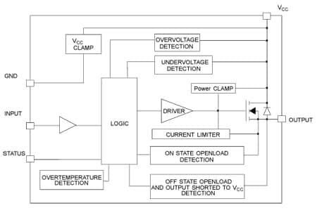
The VN750 is a monolithic device designed using STMicroelectronic®VIPower®M0-3 technology. The VN750 is intended for driving any type of load with one side connected to ground. The active VCCpin voltage clamp protects the device against low energy spikes.

Active current limitation combined with thermal shutdown and automatic restart protects the device against overload. The device detects the open-load condition in both the on-state and off-state. In the off-state the device detects if the output is shorted to VCC. The device automatically turns off where the ground pin becomes disconnected.

  • 特徴

    • CMOS compatible input
    • On-state open-load detection
    • Off-state open-load detection
    • Shorted load protection
    • Undervoltage and overvoltage shutdown
    • Protection against loss of ground
    • Very low standby current
    • Reverse battery protection

回路ダイアグラム

EDAシンボル / フットプリント / 3Dモデル

STマイクロエレクトロニクス - VN750

Speed up your design by downloading all the EDA symbols, footprints and 3D models for your application. You have access to a large number of CAD formats to fit with your design toolchain.

Please select one model supplier :

Symbols

EDAシンボル

Footprints

フットプリント

3D model

3Dモデル