ST6209C
Obsolete
Design Win
8 Bit ST6 Microcontroller with 4x8-bitADC 1x8-bit TIMER

Download datasheet

Product overview

概要

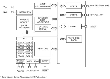
The ST6208C, 09C, 10C and 20C devices are low cost members of the ST62xx 8-bit HCMOS family of microcontrollers, which is targeted at low to medium complexity applications. All ST62xx devices are based on a building block approach: a common core is surrounded by a number of on-chip peripherals.

The ST62E20C is the erasable EPROM version of the ST62T08C, T09C, T10C and T20C devices, which may be used during the development phase for the ST62T08C, T09C, T10C and T20C target devices, as well as the respective ST6208C, 09C, 10C and 20C ROM devices.

OTP and EPROM devices are functionally identical. OTP devices offer all the advantages of user programmability at low cost, which make them the ideal choice in a wide range of applications where frequent code changes, multiple code versions or last minute programmability are required.

The ROM based versions offer the same functionality, selecting the options defined in the programmable option bytes of the OTP/EPROM versions in the ROM option list (See Section 11.6 on page 96).

The ST62P08C/P09C/P10C/P20C are the Factory Advanced Service Technique ROM (FASTROM) versions of ST62T08C, T09C, T10C and T20C OTP devices.

They offer the same functionality as OTP devices, but they do not have to be programmed by the customer (See Section 11 on page 90).

These compact low-cost devices feature a Timer comprising an 8-bit counter with a 7-bit programmable prescaler, an 8-bit A/D Converter with up to 8 analog inputs (depending on device) and a Digital Watchdog timer, making them well suited for a wide range of automotive, appliance and industrial applications.

For easy reference, all parametric data are located in Section 11 on page 90.

  • All features

    • Instruction Set\t\t8-bit data manipulation\t\t40 basic instructions\t\t9 addressing modes\t\tBit manipulation\t\t
    • Analog Peripheral\t\t8-bit ADC with 4 or 8 input channels (except on ST6208C)\t\t
    • Memories\t\t1K, 2K or 4K bytes Program memory (OTP, EPROM, FASTROM or ROM) with read-out protection\t\t64 bytes RAM\t\t
    • Interrupt Management\t\t4 interrupt vectors plus NMI and RESET\t\t12 external interrupt lines (on 2 vectors)\t\t
    • Clock, Reset and Supply Management\t\tEnhanced reset system\t\tLow Voltage Detector (LVD) for Safe Reset\t\tClock sources: crystal/ceramic resonator or RC network, external clock, backup oscillator (LFAO)\t\tOscillator Safeguard (OSG)\t\t2 Power Saving Modes: Wait and Stop\t\t
    • 2 Timers\t\tConfigurable watchdog timer\t\t8-bit timer/counter with a 7-bit prescaler\t\t
    • Development Tools\t\tFull hardware/software development package\t\t
    • 12 I/O Ports\t\t12 multifunctional bidirectional I/O lines\t\t8 alternate function lines\t\t4 high sink outputs (20mA)\t\t

回路ダイアグラム

EDA Symbols, Footprints and 3D Models

STMicroelectronics - ST6209C

Speed up your design by downloading all the EDA symbols, footprints and 3D models for your application. You have access to a large number of CAD formats to fit with your design toolchain.

Please select one model supplier :

Symbols

Symbols

Footprints

Footprints

3D model

3D models