ST72324BJ4-auto

生産終了
Design Win

8-bit MCU for automotive, 3.8 to 5.5V operating range with 16 Kbyte Flash, 10-bit ADC, 4 timers, SPI, SCI

Download datasheet

製品概要

概要

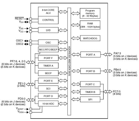
The ST72324B-Auto devices are members of the ST7 microcontroller family designed for mid-range automotive applications running from 3.8 to 5.5V. Different package options offer up to 32 I/O pins.

All devices are based on a common industry-standard 8-bit core, featuring an enhanced instruction set and are available with Flash or ROM program memory. The ST7 family architecture offers both power and flexibility to software developers, enabling the design of highly efficient and compact application code.

The on-chip peripherals include an A/D converter, two general purpose timers, an SPI interface and an SCI interface. For power economy, the microcontroller can switch dynamically into, Slow, Wait, Active Halt or Halt mode when the application is in idle or stand-by state.

  • 特徴

    • メモリ
      • 8 to 32 Kbyte dual voltage High Density Flash (HDFlash) or ROM with readout protection capability. In-application programming and In-circuit programming for HDFlash devices
      • 384 bytes to 1 Kbyte RAM
      • HDFlash endurance: 100 cycles, data retention 20 years
    • Clock, reset and supply management
      • Enhanced low voltage supervisor (LVD) withprogrammable reset thresholds and auxiliary voltage detector (AVD) with interrupt capability
      • Clock sources: crystal/ceramic resonator oscillators, internal RC oscillator and external clock input
      • PLL for 2x frequency multiplication
      • 4 power saving modes: Slow, Wait, Active Halt, and Halt
    • Interrupt management
      • Nested interrupt controller
      • 10 interrupt vectors plus TRAP and RESET
      • 9/6 external interrupt lines (on 4 vectors)
    • Up to 32 I/O ports
      • 32/24 multifunctional bidirectional I/O lines
      • 22/17 alternate function lines
      • 12/10 high sink outputs
    • 4 timers
      • Main clock controller with Real-time base, Beep and Clock-out capabilities
      • Configurable watchdog timer
      • 16-bit Timer A with 1 input capture, 1 output compare, external clock input, PWM and pulse generator modes
      • 16-bit Timer B with 2 input captures, 2 output compares, PWM and pulse generator modes
    • 2 communication interfaces
      • SPI synchronous serial interface
      • SCI asynchronous serial interface
    • 1 analog peripheral (low current coupling)
      • 10-bit ADC with up to 12 input ports
    • Instruction set
      • 8-bit data manipulation
      • 63 basic instructions
      • 17 main addressing modes
      • 8 x 8 Unsigned Multiply Instruction
    • 開発ツール
      • In-circuit testing capability

回路ダイアグラム

EDAシンボル / フットプリント / 3Dモデル

STマイクロエレクトロニクス - ST72324BJ4-auto

Speed up your design by downloading all the EDA symbols, footprints and 3D models for your application. You have access to a large number of CAD formats to fit with your design toolchain.

Please select one model supplier :

Symbols

EDAシンボル

Footprints

フットプリント

3D model

3Dモデル