ST72324K2
Obsolete
Design Win
8-BIT MCU WITH NESTED INTERRUPTS, FLASH, 10-BIT ADC, 4 TIMERS, SPI, SCI INTERFACE

Download datasheet

Product overview

概要

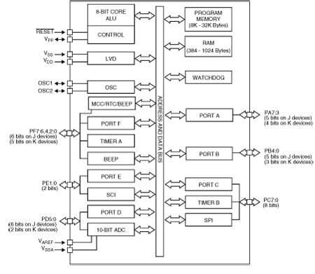
The ST72324 devices are members of the ST7 microcontroller family designed for the 5V operating range. The 32-pin devices are designed for mid-range applications The 42/44-pin devices target the same range of applications requiring more than 24 I/O ports.

For a description of the differences between ST72324 and ST72324B devices refer to Section 14.2 on page 152

All devices are based on a common industry-standard 8-bit core, featuring an enhanced instruction set and are available with FLASH program memory.

Under software control, all devices can be placed in WAIT, SLOW, ACTIVE-HALT or HALT mode, reducing power consumption when the application is in idle or stand-by state.

The enhanced instruction set and addressing modes of the ST7 offer both power and flexibility to software developers, enabling the design of highly efficient and compact application code. In addition to standard 8-bit data management, all ST7 microcontrollers feature true bit manipulation, 8x8 unsigned multiplication and indirect addressing modes.

  • All features

    • 1 Analog Peripheral (low current coupling)10-bit ADC with up to 12 robust input ports
    • 2 Communication InterfacesSPI synchronous serial interfaceSCI asynchronous serial interface
    • Development ToolsFull hardware/software development packageIn-Circuit Testing capability
    • Memories8 to 32K dual voltage High Density Flash (HDFlash) with read-out protection capability. In-Application Programming and In-Circuit Programming for HDFlash devices384 to 1K bytes RAMHDFlash endurance: 100 cycles, data retention: 20 years at 55°C
    • Interrupt ManagementNested interrupt controller10 interrupt vectors plus TRAP and RESET9/6 external interrupt lines (on 4 vectors)
    • Clock, Reset And Supply ManagementEnhanced low voltage supervisor (LVD) for main supply with programmable reset thresholds and auxiliary voltage detector (AVD) with interrupt capabilityClock sources: crystal/ceramic resonator oscillators, internal RC oscillator, clock security system and bypass for external clockPLL for 2x frequency multiplicationFour Power Saving Modes: Halt, Active-Halt, Wait and Slow
    • 4 TimersMain Clock Controller with: Real time base, Beep and Clock-out capabilitiesConfigurable watchdog timer16-bit Timer A with: 1 input capture, 1 output compare, external clock input, PWM and pulse generator modes16-bit Timer B with: 2 input captures, 2 output compares, PWM and pulse generator modes
    • Instruction Set8-bit Data Manipulation63 Basic Instructions17 main Addressing Modes8 x 8 Unsigned Multiply Instruction
    • Up to 32 I/O Ports32/24 multifunctional bidirectional I/O lines22/17 alternate function lines12/10 high sink outputs

回路ダイアグラム

EDA Symbols, Footprints and 3D Models

STMicroelectronics - ST72324K2

Speed up your design by downloading all the EDA symbols, footprints and 3D models for your application. You have access to a large number of CAD formats to fit with your design toolchain.

Please select one model supplier :

Symbols

Symbols

Footprints

Footprints

3D model

3D models