ST72324LJ6
Obsolete
Design Win
8-bit MCU

Download datasheet

Product overview

概要

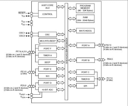
The ST72F324L and ST72324BL devices are members of the ST7 microcontroller family designed for mid-range applications running at 3.3V. Different package options offer up to 32 I/O pins. All devices are based on a common industry-standard 8-bit core, featuring an enhanced instruction set and are available with Flash or ROM program memory. The ST7 family architecture offers both power and flexibility to software developers, enabling the design of highly efficient and compact application code.

The on-chip peripherals include an A/D converter, 2 general purpose timers, an SPI interface and an SCI interface.

For power economy, microcontroller can switch dynamically into WAIT, SLOW, ACTIVE-HALT or HALT mode when the application is in idle or stand-by state.

Typical applications are consumer, home, office and industrial products.

  • All features

    • 1 Analog Peripheral 10-bit ADC with up to 12 input ports
    • 2 Communication InterfacesSPI synchronous serial interfaceSCI asynchronous serial interface
    • Development ToolsFull hardware/software development packageIn-Circuit Testing capability
    • Memories8 to 32K dual voltage High Density Flash (HDFlash) or ROM with read-out protection capability. In-Application Programming and In-Circuit Programming for HDFlash devices384 to 1K bytes RAMHDFlash endurance: 100 cycles, data retention: 40 years at 85˚C
    • Interrupt ManagementNested interrupt controller10 interrupt vectors plus TRAP and RESET9/6 external interrupt lines (on 4 vectors)
    • Clock, Reset And Supply ManagementClock sources: crystal/ceramic resonator oscillators, internal RC oscillator, and bypass for external clockPLL for 2x frequency multiplicationFour power saving modes: Halt, Active-Halt, Wait and Slow
    • 4 TimersMain Clock Controller with: Real time base, Beep and Clock-out capabilitiesConfigurable watchdog timer16-bit Timer A with: 1 input capture, 1 output compare, external clock input, PWM and pulse generator modes16-bit Timer B with: 2 input captures, 2 output compares, PWM and pulse generator modes
    • Instruction Set8-bit Data Manipulation63 Basic Instructions17 main Addressing Modes8 x 8 Unsigned Multiply Instruction
    • Up to 32 I/O Ports32/24 multifunctional bidirectional I/O lines22/17 alternate function lines12/10 high sink outputs

回路ダイアグラム

EDA Symbols, Footprints and 3D Models

STMicroelectronics - ST72324LJ6

Speed up your design by downloading all the EDA symbols, footprints and 3D models for your application. You have access to a large number of CAD formats to fit with your design toolchain.

Please select one model supplier :

Symbols

Symbols

Footprints

Footprints

3D model

3D models