ST72325S6
Obsolete
Design Win
8-bit MCU

Download datasheet

Product overview

概要

The ST72F325 Flash and ST72325 ROM devices are members of the ST7 microcontroller family designed for mid-range applications.

They are derivatives of the ST72321 and ST72324 devices, with enhanced characteristics and robust Clock Security System.

All devices are based on a common industrystandard 8-bit core, featuring an enhanced instruction set and are available with Flash or ROM program memory. The ST7 family architecture offers both power and flexibility to software developers, enabling the design of highly efficient and compact application code.

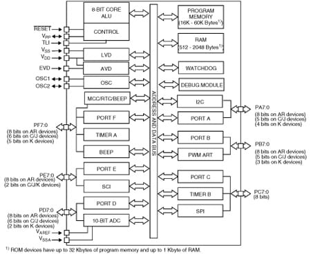
The on-chip peripherals include an A/D converter, a PWM Autoreload timer, 2 general purpose timers, I2C bus, SPI interface and an SCI interface.

For power economy, microcontroller can switch dynamically into WAIT, SLOW, ACTIVE-HALT or HALT mode when the application is in idle or stand-by state.

Typical applications are consumer, home, office and industrial products.

The devices feature an on-chip Debug Module(DM) to support in-circuit debugging (ICD). For adescription of the DM registers, refer to the ST7ICC Protocol Reference Manual.Main Differences with ST72321: LQFP48 and LQFP32 packages Clock Security System Internal RC, Readout protection, LVD and PLLwithout limitations Negative current injection not allowed on I/O portPB0 (instead of PC6). External interrupts have Exit from Active Haltmode capability.

  • All features

    • 1 Analog peripheral (low current coupling)10-bit ADC with up to 16 robust input ports
    • 3 Communications interfacesSPI synchronous serial interfaceSCI asynchronous serial interfaceI2C multimaster interface
    • Development toolsFull hardware/software development packageDM (Debug module)
    • Memories16K to 60K dual voltage High Density Flash (HDFlash) or up to 32K ROM with read-outprotection capability. In-Application Programming and In-Circuit Programming for HDFlash devices512 to 2048 bytes RAMHDFlash endurance: 100 cycles, data retention: 40 years at 85°C
    • Interrupt managementNested interrupt controller14 interrupt vectors plus TRAP and RESETTop Level Interrupt (TLI) pin on 64-pin devices9/6 external interrupt lines (on 4 vectors)
    • Clock, reset and supply managementEnhanced low voltage supervisor (LVD) for main supply and auxiliary voltage detector(AVD) with interrupt capabilityClock sources: crystal/ceramic resonator oscillators, internal RC oscillator and bypass for external clockPLL for 2x frequency multiplicationFour Power Saving Modes: Halt, Active-Halt,Wait and SlowClock Security System
    • 5 timersMain Clock Controller with: Real time base, Beep and Clock-out capabilitiesConfigurable watchdog timerTwo 16-bit timers with: 2 input captures, 2 output compares, external clock input on one timer, PWM and pulse generator modes8-bit PWM Auto-reload timer with: 2 input captures, 4 PWM outputs, output compare and time base interrupt, external clock with event detector
    • Instruction set8-bit Data Manipulation63 Basic Instructions17 main Addressing Modes8 x 8 Unsigned Multiply Instruction
    • Up to 48 I/O ports48/36/32/24 multifunctional bidirectional I/O lines34/26/22/17 alternate function lines16/13/12/10 high sink outputs

回路ダイアグラム

EDA Symbols, Footprints and 3D Models

STMicroelectronics - ST72325S6

Speed up your design by downloading all the EDA symbols, footprints and 3D models for your application. You have access to a large number of CAD formats to fit with your design toolchain.

Please select one model supplier :

Symbols

Symbols

Footprints

Footprints

3D model

3D models