ST7FOXK1
Obsolete
Design Win
Low cost flash 8bit micro

Download datasheet

Product overview

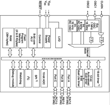
  • All features

    • Interrupt management13 interrupt vectors plus TRAP and RESET
    • A/D converter: up to 10 input channels
    • Development toolsFull HW/SW development packageDM (Debug Module)
    • Memories4 to 8 Kbytes single voltage extended Flash (XFlash) Program memory with Read-Out Protection In-Circuit Programming and In-Application programming (ICP and IAP) Endurance: 1K write/erase cycles guaranteed Data retention: 20 years at 55 °C384 bytes RAM
    • I/O PortsUp to 24 multifunctional bidirectional I/OsUp to 8 high sink outputs
    • Clock, Reset and Supply ManagementLow voltage supervisor (LVD) for safe power-on/offClock sources: Internal trimmable 8 MHz RC oscillator, auto wakeup internal low power - low frequency oscillator, crystal/ceramic resonator or external clockExternal reset source and watchdog resetFive power saving modes: Halt, Active-Halt, Auto Wakeup from Halt, Wait and Slow
    • Communication interfaces:I²C multimaster interfaceSPI synchronous serial interface
    • Instruction set8-bit data manipulation63 basic instructions with illegal opcode detection17 main addressing modes8 x 8 unsigned multiply instructions
    • 6 timersConfigurable watchdog timerDual 8-bit Lite timers with prescaler, 1 real time base and 1 input captureDual 12-bit Auto-reload timers with 4 PWM outputs, input capture, output compare, dead-time generation and enhanced one pulse mode functionsOne 16-bit timer

回路ダイアグラム

EDA Symbols, Footprints and 3D Models

STMicroelectronics - ST7FOXK1

Speed up your design by downloading all the EDA symbols, footprints and 3D models for your application. You have access to a large number of CAD formats to fit with your design toolchain.

Please select one model supplier :

Symbols

Symbols

Footprints

Footprints

3D model

3D models