ST7SCR1E4
Obsolete
Design Win
8-BIT LOW-POWER, FULL-SPEED USB MCU WITH 16K FLASH, 768 RAM, SMARTCARD I/F, TIMER

Download datasheet

Product overview

概要

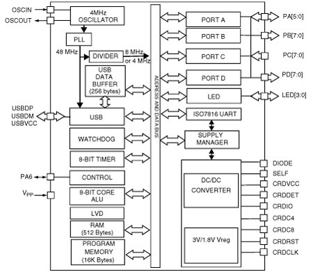
The ST7SCR and ST7FSCR devices are members of the ST7 microcontroller family designed for USB applications. All devices are based on a common industry-standard 8-bit core, featuring an enhanced instruction set.

The ST7SCR ROM devices are factory-programmed and are not reprogrammable.

The ST7FSCR versions feature dual-voltage Flash memory with Flash Programming capability.

They operate at a 4 MHz external oscillator frequency.

Under software control, all devices can be placed in WAIT or HALT mode, reducing power consumption when the application is in idle or stand-by state.

The enhanced instruction set and addressing modes of the ST7 offer both power and flexibility to software developers, enabling the design of highly efficient and compact application code. In addition to standard 8-bit data management, all ST7 microcontrollers feature true bit manipulation, 8x8 unsigned multiplication and indirect addressing modes.

  • All features

    • Memories
      • Up to 16 Kbytes of ROM or High Density Flash (HDFlash) program memory with read/write protection, HDFlash In-Circuit and In-Application Programming. 100 write/erase cycles guaranteed, data retention: 40 years at 55°C
      • Up to 768 bytes of RAM including up to 128 bytes stack and 256 bytes USB buffer
    • Clock, reset and supply management
      • Low voltage reset
      • 2 power saving modes: Halt and Wait modes
      • PLL for generating 48 MHz USB clock using a 4 MHz crystal
    • Interrupt management
      • Nested Interrupt controller
    • USB (Universal Serial Bus) interface
      • 256-byte buffer for full speed bulk, control and interrupt transfer types compliant with USB specification (version 2.0)
      • On-Chip 3.3V USB voltage regulator and transceivers with software power-down
      • 7 USB endpoints:
        • One 8-byte Bidirectional Control Endpoint
        • One 64-byte In Endpoint,
        • One 64-byte Out Endpoint
        • Four 8-byte In Endpoints
    • 35 or 4 I/O ports
      • Up to 4 LED outputs with software programmable constant current (3 or 7 mA).
      • 2 General purpose I/Os programmable as interrupts
      • Up to 8 line inputs programmable as interrupts
      • Up to 20 outputs
      • 1 line assigned by default as static input after reset
    • ISO7816-3 UART interface
      • 4 MHz clock generation
      • Synchronous/Asynchronous protocols (T=0, T=1)
      • Automatic retry on parity error
      • Programmable baud rate from 372 clock pulses up to 11.625 clock pulses (D=32/F=372)
      • Card Insertion/Removal Detection
    • Smartcard power supply
      • Selectable card VCC 1.8V, 3V, and 5V
      • Internal step-up converter for 5V supplied Smartcards (with a current of up to 55mA) using only two external components.
      • Programmable Smartcard Internal Voltage Regulator (1.8V to 3.0V) with current overload protection and 4 KV ESD protection (Human Body Model) for all Smartcard Interface I/Os
    • One 8-bit timer
      • Time Base Unit (TBU) for generating periodic interrupts.
    • Development tools
      • Full hardware/software development package
    • ECOPACK®packages

回路ダイアグラム

EDA Symbols, Footprints and 3D Models

STMicroelectronics - ST7SCR1E4

Speed up your design by downloading all the EDA symbols, footprints and 3D models for your application. You have access to a large number of CAD formats to fit with your design toolchain.

Please select one model supplier :

Symbols

Symbols

Footprints

Footprints

3D model

3D models