STR911FAM42
Obsolete
Design Win
32-bit MCU

Download datasheet

Product overview

概要

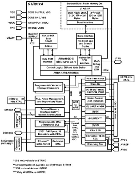
STR91xFA is a series of ARM®-powered microcontrollers which combines a 16/32-bit ARM966E-S RISC processor core, dual-bank Flash memory, large SRAM for data or code, and a rich peripheral set to form an ideal embedded controller for a wide variety of applications such as point-of-sale terminals, industrial automation, security and surveillance, vending machines, communication gateways, serial protocol conversion, and medical equipment. The ARM966E-S core can perform single-cycle DSP instructions, good for speech processing, audio algorithms, and low-end imaging.

  • All features

    • 16/32-bit 96 MHz ARM9E based MCU
      • ARM966E-S™ RISC core: Harvard archi-tecture, 5-stage pipeline, Tightly-Coupled Memories (SRAM and Flash)
      • STR91xFA implementation of core adds high-speed burst Flash memory interface, instruction prefetch queue, branch cache
      • Up to 96 MIPS directly from Flash memory
      • Single-cycle DSP instructions supported
      • Binary compatible with ARM7 code
    • Dual burst Flash memories, 32-bits wide
      • 256 KB/512 KB/1 MB/2 MB main Flash
      • 32 KB/128 KB secondary Flash
      • Sequential Burst operation up to 96 MHz
      • 100 K min erase cycles, 20 yr min retention
    • SRAM, 32-bits wide
      • 64K or 96K bytes, optional battery backup
    • 9 programmable DMA channels
    • Clock, reset, and supply management
      • Internal oscillator operating with external 4-25 MHz crystal
      • Internal PLL up to 96 MHz
      • Real-time clock provides calendar functions, tamper, and wake-up functions
      • Reset Supervisor monitors supply voltage, watchdog, wake-up unit, external reset
      • Brown-out monitor
      • Run, Idle, and Sleep Mode as low as 50 uA
    • Vectored interrupt controller (VIC)
      • 32 IRQ vectors, 30 interrupt pins
      • Branch cache minimizes interrupt latency
    • 8-channel, 10-bit A/D converter (ADC)
      • 0 to 3.6 V range, 0.7 usec conversion
    • 10 Communication interfaces
      • 10/100 Ethernet MAC with DMA and MII
      • USB Full-speed (12 Mbps) slave device
      • CAN interface (2.0B Active)
      • 3 16550-style UARTs with IrDA protocol
      • 2 Fast I2C, 400 kHz
      • 2 channels for SPI, SSI™, or MICROWIRE™
    • External Memory Interface (EMI)
      • 8- or 16-bit data, up to 24-bit addressing
      • Static Async modes for LQFP128
      • Additional burst synchronous modes for LFBGA144
    • Up to 80 I/O pins (muxed with interfaces)
    • 16-bit standard timers (TIM)
      • 4 timers each with 2 input capture, 2 output compare, PWM and pulse count modes
    • 3-Phase induction motor controller (IMC)
    • JTAG interface with boundary scan
    • Embedded trace module (ARM® ETM9™)

回路ダイアグラム

EDA Symbols, Footprints and 3D Models

STMicroelectronics - STR911FAM42

Speed up your design by downloading all the EDA symbols, footprints and 3D models for your application. You have access to a large number of CAD formats to fit with your design toolchain.

Please select one model supplier :

Symbols

Symbols

Footprints

Footprints

3D model

3D models