ST72260G1
Obsolete
Design Win
8-BIT MCU WITH FLASH OR ROM MEMORY, ADC, TWO 16-BIT TIMERS, I2C, SPI, SCI INTERFACES

Download datasheet

Product overview

概要

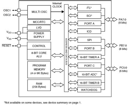
The ST72260Gx, ST72262Gx and ST72264Gx devices are members of the ST7 microcontroller family. They can be grouped as follows : ST72264Gx devices are designed for mid-range applications with ADC, I 2C and SCI interface capabilities. ST72262Gx devices target the same range of applications but without I 2C interface or SCI. ST72260Gx devices are for applications that do not need ADC, I 2C peripherals or SCI.

All devices are based on a common industrystandard 8-bit core, featuring an enhanced instruction set.

The ST72F260G, ST72F262G, and ST72F264G versions feature single-voltage FLASH memory with byte-by-byte In-Circuit Programming (ICP) capabilities.

Under software control, all devices can be placed in WAIT, SLOW, Active-HALT or HALT mode, reducing power consumption when the application is in idle or stand-by state.

The enhanced instruction set and addressing modes of the ST7 offer both power and flexibility to software developers, enabling the design of highly efficient and compact application code. In addition to standard 8-bit data management, all ST7 microcontrollers feature true bit manipulation, 8x8 unsigned multiplication and indirect addressing modes.

For easy reference, all parametric data is located in Section 13 on page 126.

  • All features

    • 1 Analog peripheral 10-bit ADC with 6 input channels
    • 3 Communication InterfacesSPI synchronous serial interfaceI2C multimaster interface (SMBus V1.1 Compliant) SCI asynchronous serial interface
    • Development ToolsFull hardware/software development package
    • Memories 4 K or 8 Kbytes Program memory: ROM or single voltage extended Flash (XFlash) with read-out protection, write protection, In-Circuit Programming and In-Application Programming (ICP and IAP). 10K write/erase cycles guaranteed, data retention: 20 years at 55°C.256 bytes RAM
    • Interrupt Management Nested interrupt controller10 interrupt vectors plus TRAP and RESET22 external interrupt lines (on 2 vectors)
    • Clock, Reset and Supply Management Enhanced reset systemEnhanced low voltage supply supervisor (LVD) with 3 programmable levels and auxiliary voltage detector (AVD) with interrupt capability for implementing safe power-down proceduresClock sources: crystal/ceramic resonator oscillators, internal RC oscillator and bypass for external clockPLL for 2x frequency multiplicationClock-out capability4 Power Saving Modes: Halt, Active Halt,Wait and Slow
    • 4 Timers Main Clock Controller with Real time base and Clock-out capabilitiesConfigurable watchdog timerTwo 16-bit timers with: 2 input captures, 2 output compares, external clock input on one timer, PWM and Pulse generator modes
    • Instruction Set8-bit data manipulation63 basic instructions with illegal opcode detection17 main addressing modes8 x 8 unsigned multiply instruction
    • 22 I/O Ports 22 multifunctional bidirectional I/O lines20 alternate function lines8 high sink outputs

回路ダイアグラム

EDA Symbols, Footprints and 3D Models

STMicroelectronics - ST72260G1

Speed up your design by downloading all the EDA symbols, footprints and 3D models for your application. You have access to a large number of CAD formats to fit with your design toolchain.

Please select one model supplier :

Symbols

Symbols

Footprints

Footprints

3D model

3D models