ST7LIT10BF1

生産終了
Design Win

8-BIT MCU WITH SINGLE VOLTAGE FLASH MEMORY, DATA EEPROM, ADC, 5 TIMERS, SPI

Download datasheet

製品概要

概要

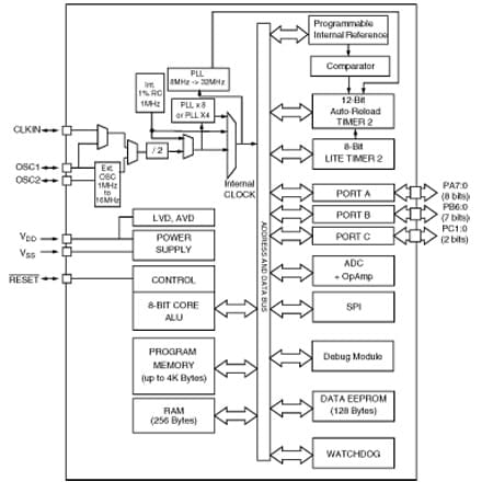
The ST7LITE1xB is a member of the ST7 microcontroller family. All ST7 devices are based on a common industry-standard 8-bit core, featuring an enhanced instruction set.

The ST7LITE1xB features FLASH memory with byte-by-byte In-Circuit Programming (ICP) and In-Application Programming (IAP) capability.

Under software control, the ST7LITE1xB device can be placed in WAIT, SLOW, or HALT mode, reducing power consumption when the application is in idle or standby state.

The enhanced instruction set and addressing modes of the ST7 offer both power and flexibility to software developers, enabling the design of highly efficient and compact application code. In addition to standard 8-bit data management, all ST7 microcontrollers feature true bit manipulation, 8x8 unsigned multiplication and indirect addressing modes.

For easy reference, all parametric data are located in section 13 on page 110. The ST7LITE1xB features an on-chip Debug Module (DM) to support In-Circuit Debugging (ICD). For a description of the DM registers, refer to the ST7 ICC Protocol Reference Manual.

  • 特徴

    • Development ToolsFull hardware/software development packageDM (Debug Module)
    • Instruction Set8-bit data manipulation63 basic instructions with illegal opcode detection17 main addressing modes8 x 8 unsigned multiply instructions
    • Analog Comparator
    • Interrupt Management12 interrupt vectors plus TRAP and RESET15 external interrupt lines (on 4 vectors)
    • Memoriesup to 4 Kbytes single voltage extended Flash (XFlash) Program memory with read-out protection, In-Circuit Programming and In-Application programming (ICP and IAP). 10K write/erase cycles guaranteed, data retention: 20 years at 55˚C.256 bytes RAM128 bytes data EEPROM with read-out protection. 300K write/erase cycles guaranteed, data retention: 20 years at 55˚C.
    • I/O PortsUp to 17 multifunctional bidirectional I/O lines7 high sink outputs
    • Clock, Reset and Supply ManagementEnhanced reset systemEnhanced low voltage supervisor (LVD) for main supply and an auxiliary voltage detector (AVD) with interrupt capability for implementing safe power-down proceduresClock sources: Internal 1% RC oscillator (on ST7FLITE15B and ST7FLITE19B), crystal/ceramic resonator or external clock Internal 32-MHz input clock for Auto-reload timerOptional x4 or x8 PLL for 4 or 8 MHz internal clockFive Power Saving Modes: Halt, Active-Halt, Auto Wake-up from Halt, Wait and Slow
    • Communication InterfaceSPI synchronous serial interface
    • A/D Converter7 input channels Fixed gain Op-amp13-bit precision for 0 to 430 mV (@ 5V VDD)10-bit precision for 430 mV to 5V (@ 5V VDD)
    • 5 TimersConfigurable watchdog timerTwo 8-bit Lite Timers with prescaler, 1 realtime base and 1 input captureTwo 12-bit Auto-reload Timers with 4 PWM outputs, 1 input capture, 4 output compare and one pulse functions

回路ダイアグラム

EDAシンボル / フットプリント / 3Dモデル

STマイクロエレクトロニクス - ST7LIT10BF1

Speed up your design by downloading all the EDA symbols, footprints and 3D models for your application. You have access to a large number of CAD formats to fit with your design toolchain.

Please select one model supplier :

Symbols

EDAシンボル

Footprints

フットプリント

3D model

3Dモデル