STM1403

Obsolete
Design Win

3 V FIPS-140 security supervisor with battery switchover

Download datasheet

Product overview

Description

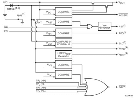
The STM1403 family of security supervisors are a low-power family of intrusion (tamper) detection chips targeted at manufacturers of POS terminals and other systems, to enable them to meet physical and/or environmental intrusion monitoring requirements as mandated by various standards, such as Federal Information Processing Standards (FIPS) Pub 140 entitled “Security Requirements for Cryptographic Modules,” published by the National Institute of Standards and Technology, U.S. Department of Commerce), EMVCo, ISO, ZKA, and VISA PED. STM1403 supports target levels 3 and lower.

The STM1403 includes automatic battery switchover, RSToutput (open drain), manual (push-button) reset input (MR), power-fail comparator (PFI/PFO), physical and/or environmental tamper detect/security alarm, and battery low voltage detect features.

The STM1403A also offers a VREF(1.237 V) as an option on pin 9. On the STM1403B/C, this pin is VTPU(internally switched VCCor VBAT).

  • All features

    • STM1403 supports FIPS-140 security level 3+
      • Four high-impedance physical tamper inputs
      • Over/under operating voltage detector
      • Security alarm (SAL) on tamper detection
    • Supervisory functions
      • Automatic battery switchover
      • RSToutput (open drain)
      • Manual (push-button) reset input (MR)
      • Power-fail comparator (PFI/PFO)
    • Vccsw(VCCswitch output)
      • Low when switched to VCC
      • High when switched to VBAT(BATT ON indicator)
    • Battery low voltage detector (power-up)
    • Optional VREF(1.237 V)
      • (Available for STM1403A only)
    • Low battery supply current (2.8 μA, typ)
    • Secure low profile 16-pin, 3 x 3 mm, QFN package

Circuit Diagram

EDA Symbols, Footprints and 3D Models

The STMicroelectronics team - STM1403

Speed up your design by downloading all the EDA symbols, footprints and 3D models for your application. You have access to a large number of CAD formats to fit with your design toolchain.

Please select one model supplier :

Symbols

Symbols

Footprints

Footprints

3D model

3D models